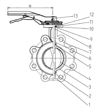
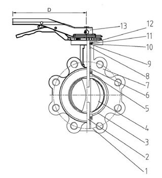
| 13 | Ковкий чугун | |
| Стопорное кольцо | Пружинная сталь | |
| 11 | Кольцо | Пружинная сталь |
| 10 | Стопорное кольцо | Пружинная сталь |
| 9 | Кольцо | Пружинная сталь |
| 8 |
Самосмазывающаяся прокладка |
Фиброармированный пластик |
| 7 | Корпус | Ковкий чугун GGG50 |
| 6 | Самосмазывающаяся прокладка | Фиброармированный пластик |
| 5 | Прокладка | Фиброармированный пластик |
| 4 | Диск | Нерж.сталь CF8M, футерованная РTFE |
| 3 | Седло |
PTFE с подкладкой из FPM (Витон) |
| 2 | Шток | Нерж.сталь SS316 |
| 1 | Корпус | Ковкий чугун GGG50 |
| Поз. | Описание | Материал |
| Ду | A | B | C | L | H |
Монтажный фланец ISO |
ØG | D | n-M | QxQ | Вес (кг) | |||
| мм | дюйм | K | E | N-Ød1 | ||||||||||
| 40 | 1”1/2 | 60 | 130 | 143 | 47 | 32 | 65 | 50 | 4 - 6 | 115 | 180 | 4-M16 | 9 | 3,85 |
| 50 | 2" | 60 | 138 | 153 | 47 | 32 | 65 | 50 | 4 - 6 | 125 | 180 | 4-M16 | 9 | 3,85 |
| 65 | 2"1/2 | 70 | 142 | 155 | 50 | 32 | 65 | 50 | 4 - 6 | 145 | 180 | 4-M16 | 9 | 4,55 |
| 80 | 3" | 84 | 142 | 180 | 50 | 32 | 65 | 50 | 4 - 6 | 160 | 180 | 8-M16 | 9 | 5,05 |
| 100 | 4" | 102 | 161 | 198 | 55,5 | 32 | 90 | 70 | 4 - 10 | 180 | 220 | 8-M16 | 11 | 7,55 |
Поворотные дисковые затворы Tecofi с межфланцевым типом соединения серии VP4649R предназначены для использования в качестве запорно-регулирующей арматуры в трубопроводных сетях, транспортирующих жидкие агрессивные среды. Рассчитаны на работу при температуре от -25°С до +200°С. Обеспечивают герметичное перекрытие потока в обоих направлениях.
Выпускаются поворотные дисковые затворы разных типоразмеров: DN40-DN150 на 16 бар и DN200-DN300 на 10 бар. Управление осуществляется механическим редуктором с червячной передачей или рукояткой с фиксирующимся положением. Составной корпус изготовлен из ковкого чугуна, поворотный диск (с покрытием из PTFE) и шток — из нержавеющей стали.


