| Условный проход Ду, мм | Кодовый номер | Размер присоеди- нительной резь- бы R, дюймы | Условное давление Ру, бар | Температура перемеща- емой среды, °С | Условная пропускная способ- ность Kvs, м3/ч |
Допустимая концентра- ция гликоля, % |
|||||
| Тмин. | Тмакс. | ||||||||||
| 15 | 065B8200 | ½ | 10 | –15 | 90 | 1,9 | 50 | ||||
| 20 | 065B8201 | ¾ | 6 | 50 | |||||||
| 25 | 065B8202 | 1 | 12,1 | 15 | |||||||
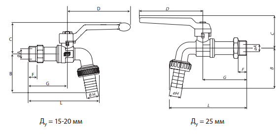
| Условный проход Ду | мм | 15 | 20 | 25 | ||||||||||
| дюймы | ½ | ¾ | 1 | |||||||||||
| ØА (диаметр отверстия в шаре), мм | 10 | 12,5 | 15 | |||||||||||
| B, мм | 56 | 63,5 | 59 | |||||||||||
| С, мм | 52 | 53,5 | 46 | |||||||||||
| D, мм | 55 | 55 | 85 | |||||||||||
| F, мм | 10,2 | 12,2 | 12,3 | |||||||||||
| G, мм | 61 | 65,5 | 58,5 | |||||||||||
| L, мм | 108 | 122 | 110,5 | |||||||||||
| ØH, мм | 16 | 19,5 | 20 | |||||||||||
| Масса, кг | 0,20 | 0,31 | 0,58 | |||||||||||
| № | Деталь | Материал | |||||||||||||
| 1 | Корпус | Латунь CW617N (Pb ≤ 2,2%) | |||||||||||||
| 2 | Шток | Латунь CW617N (Pb ≤ 2,2%) | |||||||||||||
| 3 | Шар | Хромированная латунь CW617N (Pb ≤ 2,2%) | |||||||||||||
| 4 | Уплотнение | Тефлон PTFE | |||||||||||||
| 5 | Уплотнительное кольцо штока | HNBR | |||||||||||||
| 6 | Уплотнительное кольцо штока | EPDM | |||||||||||||
| 7 | Рукоятка | Алюминий | |||||||||||||
| 8 | Гайка | Оцинкованная сталь | |||||||||||||
| 9 | Гайка | Латунь CW617N | |||||||||||||
| 10 | Фильтр | Пластик | |||||||||||||
| 11 | Уплотнение насад- ки для шланга | EPDM | |||||||||||||
| 12 | Насадка для шланга | Латунь CW617N (Pb ≤ 2,2%) | |||||||||||||
| Покрытие корпуса | Никелирование | ||||||||||||||
| № | Деталь | Материал | |||||||||||||
| 1 | Корпус | Латунь CW617N (Pb ≤ 2,2%) | |||||||||||||
| 2 | Шток | Латунь CW617N (Pb ≤ 2,2%) | |||||||||||||
| 3 | Шар | Хромированная латунь CW617N (Pb ≤ 2,2%) | |||||||||||||
| 4 | Уплотнение | Тефлон PTFE | |||||||||||||
| 5 | Уплотнительное кольцо штока | NBR | |||||||||||||
| 6 | Рукоятка | Алюминий | |||||||||||||
| 7 | Гайка | Оцинкованная сталь | |||||||||||||
| 8 | Фильтр | Пластик | |||||||||||||
| 9 | Уплотнение насад- ки для шланга | NBR | |||||||||||||
| 10 | Насадка для шланга | Латунь CW617N (Pb ≤ 2,2%) | |||||||||||||
| Покрытие корпуса | Никелирование | ||||||||||||||
Шаровые краны Danfoss BVR-C применяются в тех случаях, когда необходимо перекрыть поток рабочей среды, движущейся по трубопроводу, или выпустить ее во время дренирования. Эти шаровые краны не используются в целях регулировки.
Для присоединения кранов к трубопроводу предусмотрена наружная резьба. С другой стороны размещен патрубок, который позволяет подсоединять к крану шланг. Управление кранами осуществляется при помощи обычной рукояти.
Материалом изготовления корпуса кранов служит латунь.
Краны рассчитаны на рабочую среду максимальной температурой +110 °С.
Условное давление — 40 бар.

