| Условный проход Ду, мм | Кодовый номер | Условное Ру и максимальное рабочее давление Рр, бар | Температура перемещаемой среды, оС | Условная пропускная способность Kv, м3/ч | Минимальное давление откры- тия клапана (P)*, мм вод. ст. | |
| Тмин. | Тмакс. | |||||
| 32 | 149В2413 | 16 | -10 | 200 | 18 | 190/30 |
| 40 | 149В2414 | 28 | 200/40 | |||
| 50 | 149В2415 | 40,1 | 210/50 | |||
| Условный проход Ду, мм | Размеры, мм | Масса, кг | Примечания | ||
| D | D1 | H | |||
| 32 | 32 | 84 | 28 | 0,35 | Тарелка из нержавеющей стали |
| 40 | 40 | 94 | 32 | 0,52 | |
| 50 | 50 | 109 | 40 | 0,73 | |
| Условный проход Ду, мм | Кодовый номер | Условное Ру и максимальное рабочее давление Рр, бар | Температура перемещаемой среды, оС | Условная пропускная способность Kv, м3/ч | Минимальное давление откры- тия клапана P*, мм вод. ст. | |
| Тмин. | Тмакс. | |||||
| 65 | 149В2416 | 16 | -10 | 150 | 72,5 | 210/55 |
| 80 | 149В2417 | 111,0 | 225/65 | |||
| 100 | 149В2418 | 182,0 | 235/80 | |||
| 125 | 149В2439 | 302,0 | 335/130 | |||
| 150 | 149В2440 | 370,0 | 360/145 | |||
| 200 | 149В2441 | 546,0 | 515/205 | |||
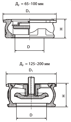
| Условный проход Ду, мм | Размеры, мм | Масса, кг | Примечания | ||
| D | D1 | H | |||
| 65 | 65 | 129 | 46 | 1,52 | Тарелка из нержавеющей стали |
| 80 | 80 | 144 | 50 | 2,17 | |
| 100 | 100 | 162 | 60 | 3,35 | |
| 125 | 125 | 192 | 90 | 8,55 | Тарелка из чугуна |
| 150 | 150 | 218 | 106 | 12,7 | |
| 200 | 200 | 273 | 140 | 23,4 | |
Обратные клапаны Danfoss серии NVD 802 пружинные, монтируются в трубопроводных системах для обеспечения потока среды только в одну сторону. Устанавливается в водораспределительных системах, на перекачивающих станциях, в промышленных установках, а также на других магистралях с инертной по отношению к деталям изделия средой.
Обратные клапаны NVD 802 имеют минимальное гидравлическое сопротивление, характеризуются отсутствием шума при работе, не создают гидравлических ударов. При эксплуатации не требуется сервисное обслуживание. Направление движения потока должно совпадать со стрелкой, нанесенной на его корпус.
Срабатывание запорной мембраны производится под действием пружины и возвратного потока транспортируемой среды. Нормальное положение клапана — закрытое.
Используемые материалы:


